710 Series HDPE Transition Fitting | Male NPT Thread | DR 7 DIPS
710 Series HDPE Transition Fitting | Male NPT Thread | DR 7 DIPS β Product Overview
The Series 710 fitting from Poly-Cam is engineered to offer a durable transition from HDPE to Male NPT Thread in sizes ranging from 0.5" to 12β. Manufactured using precision-machined Carbon Steel, 304 Stainless Steel, 316 Stainless Steel, C954 Aluminum Bronze, or ERW pipe, this fitting ensures superior sealing under varying pressure conditions. The barb-style compression fitting engages securely with HDPE pipe for permanent, maintenance-free results. Designed for a minimum 50-year service life.
Key Features & Benefits
β
Leak-Proof Fusion Seal β Multi-level barb compression bonds permanently to HDPE (DR 7 DIPS)
β
Multiple Material Options β Choose from Carbon Steel, 304/316 SS, C954 Bronze, or ERW
β
Standard NPT Threads β Conforms with ANSI/ASME B1.20.1 β 2013
β
Pressure Rated DR 7 β Ideal for high-pressure conduit systems
β
NSF-Certified Materials β Certified under NSF 61 and ASTM standards
β
Heavy-Duty Epoxy Coating β On carbon steel for corrosion resistance
β
Low-Profile Design β Ideal for tight or limited access installation
β
ARRA-Compliant β Meets federal requirements for U.S.-sourced materials
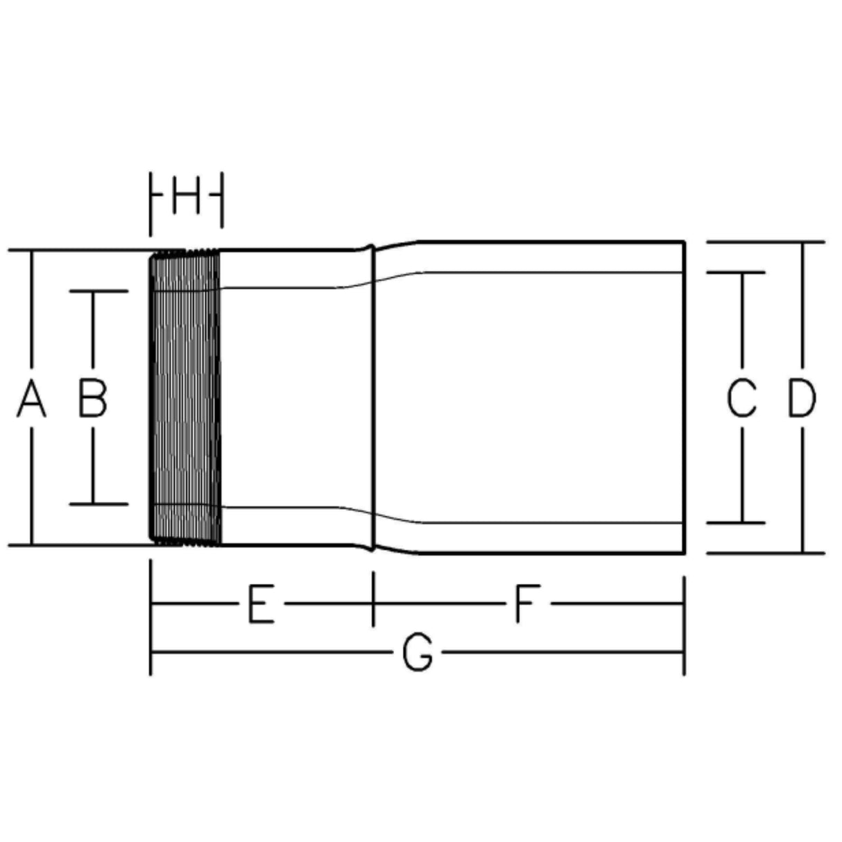
Technical Specifications
- Series: 710
- Outlet Thread Size: 0.5"β12" Male NPT
- Available DR Rating: DR 7 (DIPS)
- Main Size Compatibility: DR 7 HDPE conduit
- Thread Type: Tapered, ANSI/ASME B1.20.1
- Installation Method: Hydraulic fusion per PPI butt fusion standards
- Material: Carbon Steel, C954 Bronze, 304/316 SS, ERW
- Standards: ASTM 1598, 1599, NSF 61, ARRA compliant
- Warranty: 1-year limited warranty from installation date
- See all Series 710 Male NPT Transition Fittings Β»
Common Applications
- Utility Metering Stations
- Industrial Process Piping
- Municipal Water Infrastructure
- Chemical and Industrial Transfer Lines
- Geothermal System Connections
Available Configurations:
| Thread Size (NPT) | DR Rating | Material Options |
|---|---|---|
| 0.75" | DR 7 | 304 Stainless Steel, 316 Stainless Steel, C954 Aluminum Bronze, Carbon Steel |
| 1" | DR 7 | 304 Stainless Steel, 316 Stainless Steel, C954 Aluminum Bronze, Carbon Steel |
| 1.25" | DR 7 | 304 Stainless Steel, 316 Stainless Steel, C954 Aluminum Bronze, Carbon Steel |
| 1.5" | DR 7 | 304 Stainless Steel, 316 Stainless Steel, C954 Aluminum Bronze, Carbon Steel |
| 2" | DR 7 | 304 Stainless Steel, 316 Stainless Steel, C954 Aluminum Bronze, Carbon Steel |
| 3" | DR 7 | 304 Stainless Steel, 316 Stainless Steel, C954 Aluminum Bronze, Carbon Steel |
| 4" | DR 7 | 304 Stainless Steel, 316 Stainless Steel, C954 Aluminum Bronze, Carbon Steel |
| 5" | DR 7 | 304 Stainless Steel, 316 Stainless Steel, C954 Aluminum Bronze, Carbon Steel |
| 6" | DR 7 | 304 Stainless Steel, 316 Stainless Steel, C954 Aluminum Bronze, Carbon Steel |
| 8" | DR 7 | 304 Stainless Steel, 316 Stainless Steel, C954 Aluminum Bronze, Carbon Steel |
| 10" | DR 7 | 304 Stainless Steel, 316 Stainless Steel, C954 Aluminum Bronze, Carbon Steel |
| 12" | DR 7 | 304 Stainless Steel, 316 Stainless Steel, C954 Aluminum Bronze, Carbon Steel |
Note: This product is not suitable for natural gas applications (Does not comply with ASTM D2513). Ensure correct sizing and DR 7 classification when ordering. Dual-threaded Male NPT configuration ideal for quick thread-to-thread system integration.
DR Compatibility Matrix:
| Main Size | DR 7 | DR 9 | DR 11 | DR 17 |
|---|---|---|---|---|
| 0.5" | β | β | β | β |
| 0.75" | β | β | β | β |
| 1" | β | β | β | β |
| 1.25" | β | β | β | β |
| 1.5" | β | β | β | β |
| 2" | β | β | β | β |
| 2.5" | β | β | β | β |
| 3" | β | β | β | β |
| 4" | β | β | β | β |
| 5" | β | β | β | β |
| 6" | β | β | β | β |
| 8" | β | β | β | β |
| 10" | β | β | β | β |
| 12" | β | β | β | β |

