710 Series HDPE Transition Fitting | Male NPT Thread | DR 17 DIPS
710 Series HDPE Transition Fitting | Male NPT Thread | DR 17 DIPS — Product Overview
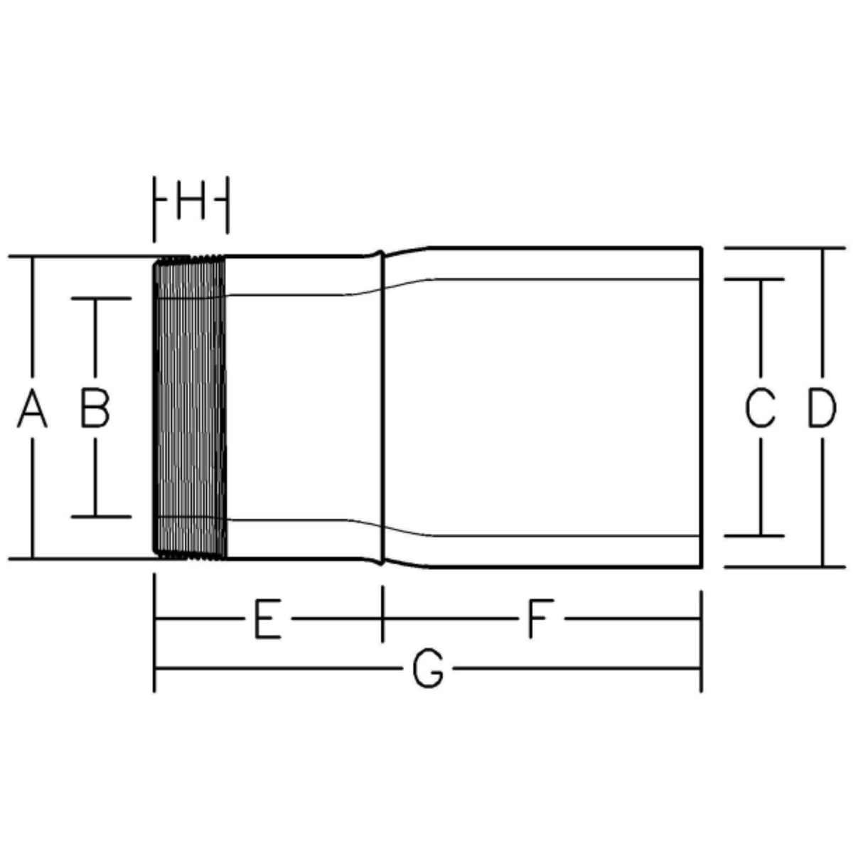
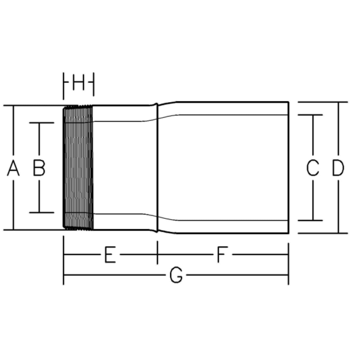
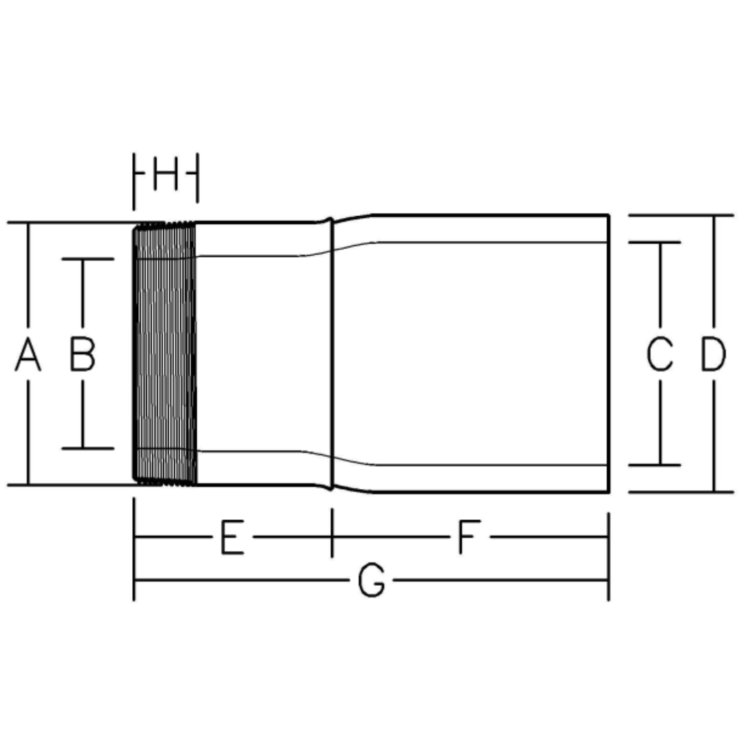
The Series 710 Male x Male NPT Threaded Transition by Poly-Cam delivers a robust solution for connecting HDPE conduit to two male-threaded components. Designed for demanding applications, this fitting is available in sizes from 0.5” to 12” and is precision-machined from Carbon Steel, 304 Stainless Steel, 316 Stainless Steel, C954 Aluminum Bronze, or ERW pipe. The fitting utilizes a multi-level barb system hydraulically compressed onto the HDPE for superior sealing and long-term performance. Rated for a minimum 50-year service life under DR 17 DIPS conditions.
Key Features & Benefits
✅ Leak-Proof Fusion Seal – Multi-level barb compression permanently bonds to HDPE (DR 17 DIPS)
✅ Dual Male NPT Connection – Ideal for connecting to threaded valves, meters, and fittings
✅ Multiple Material Options – Choose from Carbon Steel, 304/316 SS, C954 Bronze, or ERW
✅ Standard NPT Threads – Conforms with ANSI/ASME B1.20.1 – 2013
✅ Pressure Rated DR 17 – Designed for high-performance conduit applications
✅ NSF-Certified Materials – Complies with NSF 61 and ASTM standards
✅ Corrosion-Resistant Coating – Fusion bonded epoxy coating on carbon steel
✅ Compact Design – Simplifies tight installations and confined system layouts
✅ ARRA-Compliant – Qualifies under American Recovery & Reinvestment Act sourcing standards
Technical Specifications
- Series: 710
- Thread Size: 0.5"–12" Male x Male NPT
- Available DR Rating: DR 17 (DIPS)
- Main Size Compatibility: DR 17 HDPE conduit
- Thread Type: Tapered, ANSI/ASME B1.20.1
- Installation Method: Hydraulic compression and butt fusion per PPI standards
- Material Options: Carbon Steel, 304 SS, 316 SS, C954 Bronze, ERW
- Certifications: ASTM 1598, ASTM 1599, NSF 61, ARRA Compliant
- Warranty: 1-year limited warranty from installation
- See all Series 710 Male NPT Transition Fittings »
Common Applications
- Industrial & Utility Metering Installations
- Municipal and Commercial Water Systems
- Chemical & Corrosive Fluid Transfer
- Renewable Energy (Geothermal) Infrastructure
- High-Pressure Conduit Piping Networks
Available Configurations:
| Thread Size (NPT) | DR Rating | Material Options |
|---|---|---|
| 2" | DR 17 | 304 Stainless Steel, 316 Stainless Steel, C954 Aluminum Bronze, Carbon Steel |
| 3" | DR 17 | 304 Stainless Steel, 316 Stainless Steel, C954 Aluminum Bronze, Carbon Steel |
| 4" | DR 17 | 304 Stainless Steel, 316 Stainless Steel, C954 Aluminum Bronze, Carbon Steel |
| 5" | DR 17 | 304 Stainless Steel, 316 Stainless Steel, C954 Aluminum Bronze, Carbon Steel |
| 6" | DR 17 | 304 Stainless Steel, 316 Stainless Steel, C954 Aluminum Bronze, Carbon Steel |
| 8" | DR 17 | 304 Stainless Steel, 316 Stainless Steel, C954 Aluminum Bronze, Carbon Steel |
| 10" | DR 17 | 304 Stainless Steel, 316 Stainless Steel, C954 Aluminum Bronze, Carbon Steel |
| 12" | DR 17 | 304 Stainless Steel, 316 Stainless Steel, C954 Aluminum Bronze, Carbon Steel |
Note: All fittings are engineered with precision-machined barbed ends and standard tapered NPT threads for optimal sealing. This fitting is not certified under ASTM D2513 and should not be used for natural gas systems. Always confirm the appropriate DR 17 rating and size for your HDPE conduit prior to installation.
DR Compatibility Matrix:
| Main Size | DR 7 | DR 9 | DR 11 | DR 17 |
|---|---|---|---|---|
| 0.5" | ✘ | ✘ | ✔ | ✘ |
| 0.75" | ✔ | ✔ | ✔ | ✘ |
| 1" | ✔ | ✔ | ✔ | ✘ |
| 1.25" | ✔ | ✔ | ✔ | ✘ |
| 1.5" | ✔ | ✔ | ✔ | ✘ |
| 2" | ✔ | ✔ | ✔ | ✔ |
| 2.5" | ✘ | ✔ | ✔ | ✘ |
| 3" | ✔ | ✔ | ✔ | ✔ |
| 4" | ✔ | ✔ | ✔ | ✔ |
| 5" | ✔ | ✔ | ✔ | ✔ |
| 6" | ✔ | ✔ | ✔ | ✔ |
| 8" | ✔ | ✔ | ✔ | ✔ |
| 10" | ✔ | ✔ | ✔ | ✔ |
| 12" | ✔ | ✔ | ✔ | ✔ |

